Re: Fluorescent desk lamp repair
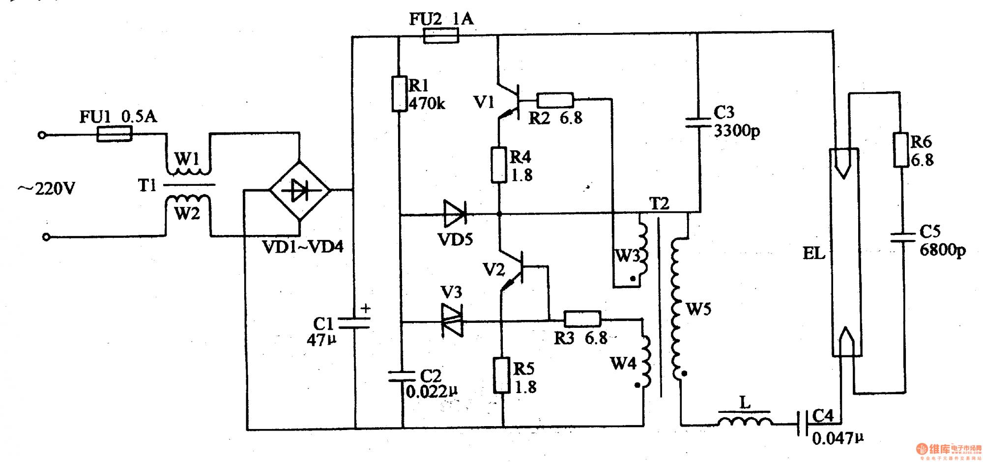
This is cold-cathode? I see only two red wires going to the tube, but the fixture's schematic shows four wires.
Philips Circline fluorescent tubes are all 4-pin hot-cathode (for starting) and they mention run voltage 61-84V for the 20-30W class T9 (12") size. You don't need really high strike voltage when the heaters are on, I've manually lit tubes then with even 24VAC.
I think it's not a good idea to measure output voltage because it's high frequency AC which many multimeters can't read, chinese multimeters rolloff above 2kHz for example. Also, it should be high voltage with no load (tube not lit) which can kinda damage a multimeter.
This is cold-cathode? I see only two red wires going to the tube, but the fixture's schematic shows four wires.
Philips Circline fluorescent tubes are all 4-pin hot-cathode (for starting) and they mention run voltage 61-84V for the 20-30W class T9 (12") size. You don't need really high strike voltage when the heaters are on, I've manually lit tubes then with even 24VAC.
I think it's not a good idea to measure output voltage because it's high frequency AC which many multimeters can't read, chinese multimeters rolloff above 2kHz for example. Also, it should be high voltage with no load (tube not lit) which can kinda damage a multimeter.
Comment