Nokia 800 tough Ta-1189 no signal

Collapse
X
 
  • Time
  • Show
Clear All
new posts
  • lordgeny
    Badcaps Veteran
    • Apr 2016
    • 223
    • Italia

    #1

    Nokia 800 tough Ta-1189 no signal

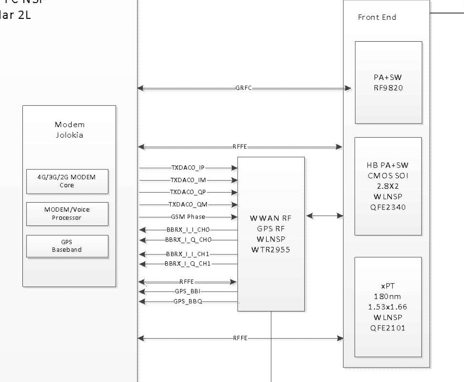
    i have no signal in 3g/4g and gps .

    FM and wifi work ..
    Attached Files

Related Topics

Collapse

  • sam_sam_sam
    I need an answer to how to amplify my WiFi signal because it is so weak outside
    by sam_sam_sam
    I have a really bad situation right with a very weak WiFi signal outside of the house and I have been told that I can not have two routers on my modem because it cause issues so what is the solution for this issue

    I can fix the garage door opener with a cat5 cable to device modem or at least that is what I call it and it works very well so far but by doing this I have no router in the garage and no WiFi signal inside the garage unless the door is open but it is extremely weak if not at all

    The MyQ cameras can NOT hookup to a cell phone hotspot I have tried it need...
    11-19-2023, 06:23 PM
  • ktmmotocross
    ASUS AMD 290X - one phase not work, no PWM signal
    by ktmmotocross
    hello.
    Have this ASUS AMD 290X that works but goeas down when put load. one phase not work and have no PWM signal to it. i trace that IR3570B not giving PWM signal. I try to replace it from other card/390x/ but it ot work. i replace driver, mosfets but still the same.

    card have identical BV as MSI V308_10
    10-11-2022, 02:50 AM
  • AstutePauciloquent
    Requesting Help For GA-970A-DS3 rev. 1.0, No Post code, no RSMRST# signal
    by AstutePauciloquent
    Hi everyone, over the past few months i have taken a deep dive into motherboard diagnostics and I love the challenge. Currently im trying to learn all about the signals that travel around the motherboard, such as frequencies, enable signals High and Low logic states etc. And i have been learning to read and using the Schematics for this board that i requested here on Badcaps forum, from a few months ago, this is such a great place for these.

    I’ve been working on a GA-970A-DS3 (rev. 1.0) that does not post. This motherboard has been my main learning board. I would like share...
    11-23-2023, 11:02 PM
  • CoinCoin88
    Garage door RX unit (Cardin S38C) does not short relay to send opening signal
    by CoinCoin88
    Hello everyone,

    I'm turning to the Badcaps community to help me troubleshoot the radio Rx card from my (old) garage door opener. While I could just ditch that card and replace the whole system, I first would like to understand "why" it suddenly stopped working, because that's just how I am wired...!

    Some basics: the receiver works on a 30.875 Mhz frequency. Yes, I'm aware this is not in use anymore in a looot of places. It does not use any rolling code, it's just a regular dip-switch code that you have to set up on both the receiver and transmitter. The receiver...
    09-15-2025, 03:36 AM
  • howardc64
    M557-G0 no WiFi/Bt no WIFIVendor file?
    by howardc64
    Thanks to Diah, got M557-G0 LCD panel buffer board repaired and running ( link ) Next challenge is no WiFi/Bt despite module on the main board and getting 3.3v supply (3.45v measured)
    • TV Menu shows Network Access Point option (enet unplugged) but menu can't select that entry
    • Service Menu shows many Bt/Wifi info missing
    • Vizio app shows no WIFIVendor file
    Prior owner used enet and said turned off wifi somehow. It seems system config info for wifi might be missing. Anyone experienced this before?
    • Tried countless enet unplug (user manual said need to unplug enet to get to wifi menu), factory
    ...
    10-15-2024, 01:12 PM
  • Loading...
  • No more items.
Working...