Fader replacement on 1980s mixer - help with this schematic

Collapse
X
 
  • Time
  • Show
Clear All
new posts
  • Transformer man
    New Member
    • Mar 2023
    • 4
    • New Zealand

    #1

    Fader replacement on 1980s mixer - help with this schematic

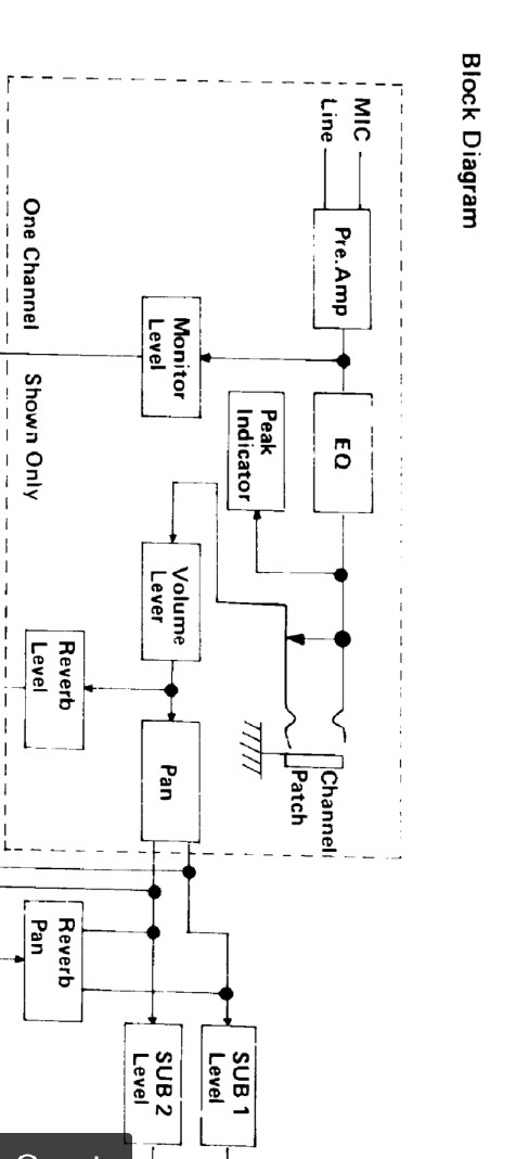
    Hi - I am looking to replace faders on a mixing desk from the early 1980s. They are tired and worn. I'm new at looking at schematics and would really appreciate your help and expertise on replacements.

    The current faders are 88mm long with 60mm fader movement and are 10K B (which I think is a linear fader). They have been swapped out at some point (tell tale signs of additional screw holes a few mms below the top screw hole).

    I think the schematic suggests 5K B faders (but as a newbie I'm not sure if I am even looking at the correct part of the schematic!?). I have included a block channel diagram and the schematic for the channel (highlighting where I think the fader is located).

    My questions are - am I on the right track? And if so, is it best to put in 5K B faders as per the schematic? Or are there advantages or draw backs with going with 10K B. Or is logarithmic (Audio) taper instead of the linear (B) fader? Any recommendations for faders? Thanks so much for help.
    Attached Files
  • Transformer man
    New Member
    • Mar 2023
    • 4
    • New Zealand

    #2
    Just closing this thread off. I ended up putting 5K faders and it sounds fine.

    Comment

    Related Topics

    Collapse

    • Longon
      Behringer Pro Mixer DJX-750
      by Longon
      Hi all....I have been using my Behringer mixer quite comfortably for a number of years now and generally it's been trouble free apart from a replacement crossfader. Recently input three channel fader began to bleed a little and causing the mixer to light up like a Christmas tree! I realise the unit is ageing now and although I'd put some hours on it over the years it's not been abused. Following the issue I planned on replacing the faders and ordered the necessary parts. In the meantime whilst awaiting the replacements I continued to use the mixer up until the channel fader started to give feedback...
      08-11-2025, 02:17 PM
    • rewease
      Replacement for the Siemens Bakelite caps in an early 1980s SMPS
      by rewease
      Hi everyone,

      There actually was a time when early SMPS and late bakelite housed electrolytic caps coexisted in high end industrial gear. A friend of mine just got himself a CNC milling machine form that time with its first set of now 41 year old caps still installed in the PSU... and it's malfunctioning.

      Two of the caps have already leaked slightly onto the board. I have not desoldered or measured any so far but they should qualify for replacement.

      Now I'm wondering what to put in there as a replacement. First idea was state of the art low-ESR Nippon KY,...
      09-17-2023, 12:53 AM
    • eum
      PSU Board repair or replacement Ecler Nuo 2.0 DJ mixer
      by eum
      Hi,
      I try to repair this fly-back type PSU, I diagnosed (identifiable) dead N-MOS and fuse, but there are 3 smd resistors on the bottom that burned and became unreadable.

      The support in charge of the brand in France managed to get me the schematics from Ecler, but it didn't include the PSU board. After a while they finally told me that the unit was too old so they don't have the PSU board schems.

      I can find replacement PSU board online, but only for the Nuo 3 or 4 or 5, and it seems they ar compatible with each other, as I often find boards compatible with these...
      07-28-2023, 03:05 PM
    • Bektronics
      Schematic Digital Audio mixer RCF type M18
      by Bektronics
      Hello dear audio friends.

      I am feverishly looking for the full electronic schematic (not a block diagram) of the RCF type M18 digital audio mixer.
      The device does not make a WIFI connection with my Apple tablet and yet I have already installed the recent app on it.
      I suspect that there is a problem in the mixer itself with the WIFI card and of course I would like to see this on an extensive schedule before opening the device.
      Thanks in advance if anyone can help me with this schematic.
      Of course, all information about this digital mixer and possibly references...
      07-24-2023, 06:40 AM
    • reformatt
      Macbook Air M2 A2681 Kernel panics after screen replacement
      by reformatt
      Just had a customer bring in a M2 MBA A2681 that had had a screen replacement in April at another repairer. Since then, she has been getting intermittent kernel panics. It's an aftermarket screen, and of course it fails in diagnostics as the calibration hasn't been done. The error in the panic log is "No device added after powering on the rails".

      It seems the original repairer has swapped the board and the screen to other MAC's, and said that it isn't a screen issue. From what I understand, by doing a quick search on Google, this is in fact a screen issue. The panic relates...
      07-31-2025, 08:37 PM
    • Loading...
    • No more items.
    Working...