LG 27GL63T-B completely dead

Collapse
X
 
  • Time
  • Show
Clear All
new posts
  • Sventy
    New Member
    • Dec 2023
    • 2
    • United States

    #41
    Hi! I have two of these monitors, last night i turned my pc off. Today, when turning on the pc, one of the monitors is dead aswell.
    This happened to me just today as well. Crazy.

    Comment

    • Dannyx
      CertifiedAxhole
      • Aug 2016
      • 3912
      • Romania

      #42
      Wow....surprised how many of these are failing ! Even more ironic is that the replacement board I got for my colleague less than a year ago ALSO failed just a couple of days ago AGAIN ! Big pen!s-shaped stain on the face of LG here...
      Wattevah...

      Comment

      • hukkaja
        New Member
        • Dec 2023
        • 3
        • Estonia

        #43
        An unprofessionally shot clip i uploaded to imgur (4.8mb, 19sec):
        https://*******
        Attached Files

        if you find these attachements useful please consider making a small donation to the site

        Last edited by Vesko356; 02-03-2024, 02:42 PM. Reason: Video attached to post from external url

        Comment

        • Pandor
          Member
          • Oct 2016
          • 24
          • Belgium

          #44
          Mine just broke down to.
          Got home from work, turned on my PC and.. nothing. luckily this is my secondary monitor.
          Just for reference, mnfr date: 04/2020
          This thread will come in handy. haven't opened mine yet, but this was the first search result.

          Comment

          • Pandor
            Member
            • Oct 2016
            • 24
            • Belgium

            #45
            Originally posted by vanarebane
            Re: LG 27GL63T-B completely dead

            Another success story:

            ....

            I replaced my IC401 with part named MP2149GJ-P (the original part has been retired) and the monitor started working. YAY!

            The MP2149GJ-P is also rated 2A (original part was rated 1A). Not sure if this is total amperage or per channel. But if someone still has burned IC401, I suggest giving the MP2149GJ-P a try, it might be better version with more overhead.

            Thanks also to everyone who contributed.

            MP2149GJ is indeed the equivalent to MP9148GJ, same specs, so its 1Amp output with 100 mΩ high-side ON resistance. I'll be repacing with a MP2122AGJ which is rated for 2A, and a ON resistance of 80 mΩ. So less power dissipation and less voltage drop across the switch.

            https://www.monolithicpower.com/en/mp2122a.html

            Comment

            • markismus
              Member
              • Mar 2023
              • 18
              • netherlands

              #46
              Click image for larger version

Name:	image.png
Views:	1839
Size:	7.70 MB
ID:	3165140
              I've blown c451 of the board while I replaced IC402 (|AGCK). Can't find it anywhere.
              Would anyone be able to tell me the capacitance? Thanks!
              Last edited by markismus; 12-19-2023, 08:52 AM.

              Comment

              • nva
                help!
                • Jan 2024
                • 2
                • Netherlands

                #47
                Hello, mine also dead. Has been working for over 2 years. It never left my desk. And then one day... no sign of life when hitting the power button.
                Took the pcb out of the monitor and tried to understand what is going on, but my knowledge is just not enough to test it and find the problem.
                All, I know (and have measured with multi meter) is that the power adapter works as it sends the 19v into the power jack that is on the pcb.

                I have a hard time reading the pcb and its traces and since there is now sheet available I don't know where to look.

                BUT: I am having fun learning about electronics, circuits and components..

                Comment

                • Pandor
                  Member
                  • Oct 2016
                  • 24
                  • Belgium

                  #48
                  So what should the actual voltage outputs be for IC400, IC 401, IC 402?
                  I just replaced IC401 with MP2122AGJ, but IC402 seems dead also... 19v input, no output...

                  Comment

                  • markismus
                    Member
                    • Mar 2023
                    • 18
                    • netherlands

                    #49
                    Originally posted by Pandor
                    So what should the actual voltage outputs be for IC400, IC 401, IC 402?
                    I just replaced IC401 with MP2122AGJ, but IC402 seems dead also... 19v input, no output...
                    Doesn't mean it's dead. Could also mean that it doesn't receive a trigger voltage on the relevant pins.
                    I've posted all datasheets a few posts back. On it are the input range voltages and the output response to the control pins.

                    Comment

                    • Pandor
                      Member
                      • Oct 2016
                      • 24
                      • Belgium

                      #50
                      Originally posted by markismus

                      Doesn't mean it's dead. Could also mean that it doesn't receive a trigger voltage on the relevant pins.
                      I've posted all datasheets a few posts back. On it are the input range voltages and the output response to the control pins.
                      there's no standby, so yeah, that rail might only became active when powered on. IC402's EN pin is low when connecting power to the board.

                      Resistance to ground after L407 on the output seems pretty low at 47ohm, so my current guess is there's a short on that output rail (that might have caused the original 1A rated regulator to die).
                      in diode mode, I'm getting 0.0422v ground to L407 coil.... maybe a dying cap after the coil... not sure.

                      there is 19v going to IC402 and IC400.
                      There is 5v going to IC401

                      IC 402 EN is low, no output
                      IC 400 output is 3.3v
                      IC 401 output is 0.3v on left side (L408), 1.16v on right side (L407) -- (this should be 2.5v and 1.2v?)

                      Comment

                      • markismus
                        Member
                        • Mar 2023
                        • 18
                        • netherlands

                        #51
                        Click image for larger version

Name:	Aantekeningen bij 27LG650F.jpg
Views:	1669
Size:	297.4 KB
ID:	3205990

                        These were the values that I measured at my defunct board.
                        (IC402 = AGC = MP2315, IC400 = AQT = MP2315S: 1 = AAM, 2 = IN, 3 = SW, 4 = GRD, 5 = BST, 6 = EN/SYNC, 7 = VCC, 8 = FB)
                        (IC401 = AKX = MP9148: 1 = FB2, 2 = EN2, 3 = SW2, 4 = EN1, 5 = GND, 6 = SW1, 7 = IN, 8 =FB1 )

                        So my IC400 also has 3.3V on output.
                        My 401 has 0.08V and 1.2V on resp. SW1 and SW2. Since EN1 = 1.7V and EN2 = 0.3V, I would expect them to behave differently. I'll check later when I have more time. The IN = 2.15V instead of the expected 5V, so that could also explain the odd behaviour.
                        my 402 has 0.8V on EN/SYNC, so it should not output anything on SW. However, it also doesn't have 5V on VCC, so it doesn't work anyway, right?

                        Pandor Looks like we at least have the same problem situation.

                        I've bought a 20k crystal oscillator. I'll replace that one first, before checking the buck converters again.

                        Comment

                        • Pandor
                          Member
                          • Oct 2016
                          • 24
                          • Belgium

                          #52
                          My expected output voltages were based on the LG 27gl850 service manual posted in this thread. I assume the voltages should match... as this model doesn't differ that much.
                          Click image for larger version  Name:	guide.png Views:	0 Size:	84.3 KB ID:	3206090

                          Comment

                          • markismus
                            Member
                            • Mar 2023
                            • 18
                            • netherlands

                            #53
                            As the numbering is different from ours, I used the datasheets. However, I am interested now wat the analogue to ic705 would be.

                            Comment

                            • Pandor
                              Member
                              • Oct 2016
                              • 24
                              • Belgium

                              #54
                              Originally posted by markismus
                              As the numbering is different from ours, I used the datasheets. However, I am interested now wat the analogue to ic705 would be.
                              I believe that would be the AKX. The ic numbering might be different, but the general power rails seem to match. The AKX is the only dual output, so hence my assumption.

                              For me the AKX seems to start at 2v output briefly, but goes down to 0.08v on SW1. So it could be going into safe mode/protect. The weird thing is that the SW1 side does not seem to have a short on my board, but the SW2 side has a rather low resistance to ground. If anyone can confirm it should be 2.5v, i might try injecting that after the coil.

                              markismus the abcence of 5v input at the AKX is worrying though. In my case the 5v is present.

                              Comment

                              • Pandor
                                Member
                                • Oct 2016
                                • 24
                                • Belgium

                                #55
                                Originally posted by Pandor

                                I believe that would be the AKX. The ic numbering might be different, but the general power rails seem to match. The AKX is the only dual output, so hence my assumption.

                                For me the AKX seems to start at 2v output briefly, but goes down to 0.08v on SW1. So it could be going into safe mode/protect. The weird thing is that the SW1 side does not seem to have a short on my board, but the SW2 side has a rather low resistance to ground. If anyone can confirm it should be 2.5v, i might try injecting that after the coil.

                                markismus the abcence of 5v input at the AKX is worrying though. In my case the 5v is present.
                                the powerrails actually match up in the service manual. Only IC401 seems to be IC403 in the schematics. This also explains why IC 402 would be low, as that seems to generate the 12v for the panel.

                                So i seem to be missing 1.8v, or rather it drops out at power up. I'll dig some more on that rail.

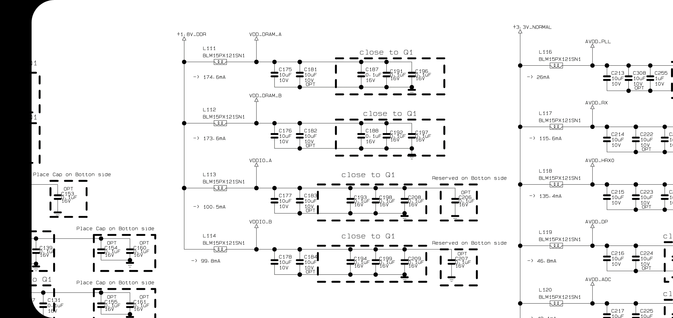
                                I'll just inject 1.8v into that rail and see what gets hot, and the power draw. Something on that rail seems to bring it down as soon as it powers up. Resistance on the unpowered rail seems fine though.

                                I just hope its not the CPU, as the 1.8v seems to split into VDD_DRAM and VDDIO and those just go through a capacitor cluster, and then into the cpu..
                                Attached Files

                                if you find these attachements useful please consider making a small donation to the site

                                Comment

                                • Pandor
                                  Member
                                  • Oct 2016
                                  • 24
                                  • Belgium

                                  #56
                                  Originally posted by markismus
                                  Click image for larger version  Name:	Aantekeningen bij 27LG650F.jpg Views:	25 Size:	297.4 KB ID:	3205990

                                  ...
                                  My 401 has 0.08V and 1.2V on resp. SW1 and SW2. Since EN1 = 1.7V and EN2 = 0.3V, I would expect them to behave differently. I'll check later when I have more time. The IN = 2.15V instead of the expected 5V, so that could also explain the odd behavior.
                                  my 402 has 0.8V on EN/SYNC, so it should not output anything on SW. However, it also doesn't have 5V on VCC, so it doesn't work anyway, right?

                                  Pandor Looks like we at least have the same problem situation.

                                  I've bought a 20k crystal oscillator. I'll replace that one first, before checking the buck converters again.
                                  Those readings seem to be way off. after replacing 401, i get:
                                  IN=5v
                                  EN1 and EN2=3.3v
                                  SW2=1.16v (close enough)

                                  But SW1 goes straight down to 0.08v. so in my case, something is overloading the SW1 side, making it go into protection mode.
                                  I have a bad fooling the CPU is taking the rail down..

                                  Comment

                                  • markismus
                                    Member
                                    • Mar 2023
                                    • 18
                                    • netherlands

                                    #57
                                    Pandor Resoldered AKX with stereomicroscope and now it measures
                                    PIN 1 2 3 4 5 6 7 8
                                    Reference FB2 EN2 SW2 EN1 GND SW1 IN FB1
                                    Voltage 0.6 3.3 1.17 3.3 0 1.8 5 0.6
                                    So that seems good. Also replaced the crystal oscillator with a new 12.000 Hz one.

                                    AQT changed slightly to
                                    PIN 1 2 3 4 5 6 7 8
                                    Reference AAM IN SW GND BST EN VCC FB
                                    Voltage 0.3 19 3.3 0 8.3 2.5 5.0 0.8
                                    AGC is now
                                    PIN 1 2 3 4 5 6 7 8
                                    Reference AAM IN SW GND BST EN VCC FB
                                    Voltage 0 18 0 0 ~0 ~0 ~0 ~0

                                    Comment

                                    • markismus
                                      Member
                                      • Mar 2023
                                      • 18
                                      • netherlands

                                      #58
                                      No joy, though.

                                      Comment

                                      • Aertop
                                        New Member
                                        • Jan 2024
                                        • 1
                                        • Spain

                                        #59
                                        Hello,

                                        I have the same error, the monitor has just "died".

                                        Symtomp: The monitor has stop working suddently, it does not show any light neither work any button, completely dead.

                                        The power supply works fine.


                                        Inspecting the PCB board with a thermal camera the IC401 shows a higher temperature than the rest of the board.

                                        My readings for the IC401 are:
                                        Pin 1 Pin 2 Pin 3 Pin 4 Pin 5 Pin 6 Pin 7 Pin 8
                                        0,7V 3,3V 1,2V 3,3V Ground 0V 5V 5V 1,6V
                                        Does those readings OK, or should i look for another component?

                                        Edit -> The IC400 just burned, i will replace that, does anyone know the part number?


                                        Thank you!

                                        Comment

                                        • Pandor
                                          Member
                                          • Oct 2016
                                          • 24
                                          • Belgium

                                          #60
                                          markismus posted some great pictures with correct IC labels and datasheets, one page back.

                                          Comment

                                          Related Topics

                                          Collapse

                                          • max-power
                                            Dell E6540 laptop completely dead after dssasembly
                                            by max-power
                                            Hi, I disassemble my laptop to replace the speakers, to access them, you have to remove everything including the heat sink and fan, unscrew the motherboard, lift it up a bit to access the speaker wire.
                                            that was not the first time I dissasemble it, i did replace the same speaker a few year ago and I repaste it last year, so I had nothing to worry about. but when I put everything back together, its completely dead.

                                            After a bit of investigating, i found one pin of the status led ribbon cable that was unglued from the cable and bend touching another pin, I bend it back at his place...
                                            03-24-2025, 08:49 AM
                                          • wangbreeze
                                            T480s random shutoff and then completely dead
                                            by wangbreeze
                                            Hello Gurus,

                                            I got a ThinkPad T480s. It was running fine but suddenly started random shut down. When it turned off, I had to push the reset pin to bring it back to life. But it got aggressively worse and became completely dead. No charging light, no life.

                                            I did some initial diagnostics with just the board (no battery, nothing attached, and no CMOS battery as well)

                                            Initial testing of the coil resistance seems to indicate no dead short. The only low resistance I measured was at PL701. It reads 38 ohms.
                                            charger gave - 20V - ok

                                            U101B
                                            ...
                                            02-03-2024, 04:57 PM
                                          • pavski
                                            Completely dead MSI z490 tomahawk
                                            by pavski
                                            Trying to troubleshoot MSI z490 tomahawk board and would appreciate your help. The board is completely dead and shows no activity when the power button is pressed.

                                            I have tried to look at the Superio, the PSIN signal seems to be correct (goes from 3.3V to 0 on button press) but the voltage on PSOUT pin is quite low. I

                                            t is only 0.8V which seems to be incorrect but goes to 0 when the button is pressed.

                                            Can you please let me know if this is indeed incorrect and what else should I look at next?

                                            Thanks!
                                            06-02-2024, 02:42 PM
                                          • Andreasbest
                                            Lenovo Thinkpad T14s completely dead.
                                            by Andreasbest
                                            Hello.
                                            I received a T14s Gen1 ( NM-C891 motherboard ) that is completely dead, no indication of life at all.
                                            I tried hard reset without RTC battery and short both pins of it for 1 minute but no luck.
                                            Since it's type C connector i have no idea what to measure or where to inject voltage, so any advice are welcomed
                                            Thank you in advance!


                                            Schematic & boardview -> https://www.badcaps.net/forum/troubl...cfc-nm-c891-sc...
                                            03-19-2024, 03:18 AM
                                          • sam_sam_sam
                                            Laptop computer that went completely dead no boot no power light no hard drive light
                                            by sam_sam_sam
                                            See pictures for type of laptop computer

                                            I checked switching power supply brick 19.2 volts multi meter only

                                            No booting without switching power supply connected

                                            Checked switching power supply with an (28 volt ) incandescent light bulb it lights then hooked up the switching power supply again now the laptop and boots like normal

                                            What the heck is going on here...
                                            04-04-2025, 04:58 AM
                                          • Loading...
                                          • No more items.
                                          Working...