Kenwood KR-6030 vintage stereo ,Old Man Trying to Save a Buck

Collapse
This topic has been answered.
X
X
 
  • Time
  • Show
Clear All
new posts
  • R_J
    Badcaps Legend
    • Jun 2012
    • 9608
    • Canada

    #61
    Click image for larger version  Name:	enlarged2.jpg Views:	0 Size:	173.1 KB ID:	3716305 Click image for larger version  Name:	enlarged.jpg Views:	0 Size:	203.8 KB ID:	3716295 If you click on the pictures and make them larger you will see the pin numbers I put on them. Are you using a computer or a phone? You wanted to know the pin numbers on the switch, so I numbered them and gave their destination
    I used the pictures you provided, and numbers the pins as per the service manual
    Pin 6, To Board 15 (Left Output) goes to the amp board, pin 15
    Pin 5 goes to Left speaker "A" + positive (Red terminal)
    pin 4 goes to Left speaker "B" + positive (Red terminal)
    Pin 3 is not connected (n.c.)
    Pin 2 goes to Right speaker "B" - negative (Black terminal) Click image for larger version

Name:	schem.jpg
Views:	44
Size:	227.5 KB
ID:	3716314
    Last edited by R_J; 09-01-2025, 10:50 AM.

    Comment

    • R_J
      Badcaps Legend
      • Jun 2012
      • 9608
      • Canada

      #62
      Originally posted by DrDos
      R_J, are you saying that the numbers are on the white circular thingys in the center? I do seem to see what look like faint markings on them. I will check this out further.
      Thanks much, you could be a life saver because it never occured to me to look there.
      Can you see these numbers? the switch pin numbers count around the other side up to pin 12
      Click image for larger version  Name:	marked image_396906.jpg Views:	0 Size:	3.02 MB ID:	3716359
      Last edited by R_J; 09-01-2025, 12:20 PM.

      Comment

      • DrDos
        Senior Member
        • Aug 2025
        • 93
        • U.S.

        #63
        Oh heck, I thought you saw the numbers on the switch somewhere. I'm sorry, instead you were telling me where the pin numbers are, geeez, I'm such a bonehead. Now it looks like I may have been wrong in my assumption. How could you tell what number the pins are? I mean the switch has a notch but is #1 pin to the right or left of it or not at all? I'll need to know so I can work with these in the future I have 3 more of them. Thank you very much I really appreciate it.

        Comment

        • DrDos
          Senior Member
          • Aug 2025
          • 93
          • U.S.

          #64
          Well I should say I hope you are right because none of th wires you picked were in the right place on the speaker output terminals, so I'm going to rewire the speaker output terminal section just the way you listed them. You were dead on with 15 and 16 going to the relay board so I guess everything else aught to be okay. I had been thinking for a while now that somebody got in here and messed up this wiring, mainly because there were no wires on B negative left or right just the jumpers for the A + B which if I am correct should go from A- left to B + left and A- right to B + right? Thanks very much for the help R_J.

          Comment

          • DrDos
            Senior Member
            • Aug 2025
            • 93
            • U.S.

            #65
            After studying what you gave me I mapped everything out and found the only wire missing was B + right and A- Left and I assume those are the jumpers from A- right to B+ right and A- left to B+ left to complet the A + B speakers selection. If I am right then you were sent to me by God J_R. Thanks. I am learning so much. I may even take a short beginners class course in this tuff to get better at reading resisters and stuff. Thank you.

            Comment

            • DrDos
              Senior Member
              • Aug 2025
              • 93
              • U.S.

              #66
              Sorry to bother but I thought that the notch on the wafer meant pin 1 to the right, but that is not how it goes so how do you know? I mean where is the benchmark for wafer switches so a person can find pin 1? Your wiring is totally different than what was there which explains why I had music coming out only one A or one B I guess once I got it up and running. Teach me how to tell where pin 1 is located on any wafer switch please?

              Comment

              • R_J
                Badcaps Legend
                • Jun 2012
                • 9608
                • Canada

                #67
                I went by the schematic, and the one giveaway was pin 3 which is not used and is not connected to anything. I am not sure how alps numbers the switches, but in this receiver, this is how they are numbered. It looks like this switch has the mounting bolt between pin 1 and 12. This switch was likely custom made for Kenwood
                Last edited by R_J; 09-01-2025, 04:48 PM.

                Comment

                • DrDos
                  Senior Member
                  • Aug 2025
                  • 93
                  • U.S.

                  #68
                  Wow, that pin 3 did not even come into my head, amazing. Well, at least I did learn something. I'm going to print out the pics with the numbers you put on just for future reference. I really do appreciate the work you did for me. Thank you very much. I will post a pic of it in the lets see your Kenwood thread and gice you credit. Cheers!

                  Comment

                  • R_J
                    Badcaps Legend
                    • Jun 2012
                    • 9608
                    • Canada

                    #69
                    The small green wire connected to A - Right is correct but the other end should be connected to B + Right (green wire to the switch) NOT to the grey wire on B - Right
                    Attached Files

                    Comment

                    • DrDos
                      Senior Member
                      • Aug 2025
                      • 93
                      • U.S.

                      #70
                      Hey J_R. This is how I put the wires for the speaker output. A is on the right and B on the left. The top row is left and the bottom row is right. I hope I did it correctly

                      Comment

                      • R_J
                        Badcaps Legend
                        • Jun 2012
                        • 9608
                        • Canada

                        #71
                        The original speaker jack was wired correctly other than that ONE green jumper. If you want to wire it differently that's up to you
                        The A and B are not wired in a row, see attached picture
                        Attached Files
                        Last edited by R_J; 09-10-2025, 03:58 PM.

                        Comment

                        • DrDos
                          Senior Member
                          • Aug 2025
                          • 93
                          • U.S.

                          #72
                          Well, what I did was follow the pins of the switch on the shematic, for instance, pin#4 I believe is ornage. The shematic says it belongs on B+ right. It was originally on A+ left and pin 5 is yellow which goes to A+ left. Whereever the lines went from the switch to the output that where I moved them. I'm going to check them again but how can that be wrong. Looking at the inside of the output section the left side of it would be for B and the right side for A in my picture I just posted. How can the schematic be wrong? However if you say the wires in that poicture are wrong I can always put them back.

                          Comment

                          • DrDos
                            Senior Member
                            • Aug 2025
                            • 93
                            • U.S.

                            #73
                            I've added a better look at the wires I hooked up so you can see the jumper also for the A +B speakers according to the schematic. Please keep in mind that I have only 2 to 3 weeks of learning here and may not understand a schematic well, yet. If I have to put the wire back the way they were ok but I am just trying to understand what I see in the schematic vs what should be now. I most vertainly am wrong but I need to know why. Thank you for your help.

                            Comment

                            • R_J
                              Badcaps Legend
                              • Jun 2012
                              • 9608
                              • Canada

                              #74
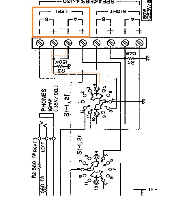
                              Here is a picture from the manual. See pin 4, see orange wire and where it goes. it does NOT connect to B+ RIGHT! It was originally on B + LEFT with a small ORANGE jumper wire to A - LEFT as well which was correct.
                              Attached Files

                              Comment

                              • R_J
                                Badcaps Legend
                                • Jun 2012
                                • 9608
                                • Canada

                                #75
                                Click image for larger version  Name:	turned_spkr jack green jumper.jpg Views:	0 Size:	3.24 MB ID:	3722638 Click image for larger version  Name:	image_398882.jpg Views:	0 Size:	1.51 MB ID:	3722633 Click image for larger version  Name:	image_396682.jpg Views:	0 Size:	3.23 MB ID:	3722634
                                Originally posted by DrDos
                                I've added a better look at the wires I hooked up so you can see the jumper also for the A +B speakers according to the schematic. Please keep in mind that I have only 2 to 3 weeks of learning here and may not understand a schematic well, yet. If I have to put the wire back the way they were ok but I am just trying to understand what I see in the schematic vs what should be now. I most vertainly am wrong but I need to know why. Thank you for your help.
                                Look at your original picture. they are NOT WIRED THE SAME all you had to do was move the green jumper wire that was soldered to the grey wire by mistake and solder it to the green wire (B + Right) and all would have been correct, but nooooo
                                Last edited by R_J; 09-10-2025, 05:19 PM.

                                Comment

                                • DrDos
                                  Senior Member
                                  • Aug 2025
                                  • 93
                                  • U.S.

                                  #76
                                  Ok I can tell you're getting a bit frustrated with me. I will put the wires back the way they were and change the green from it looks like B- left to A- right. I'll get on it right away.

                                  Comment

                                  • R_J
                                    Badcaps Legend
                                    • Jun 2012
                                    • 9608
                                    • Canada

                                    #77
                                    Originally posted by DrDos
                                    Ok I can tell you're getting a bit frustrated with me. I will put the wires back the way they were and change the green from it looks like B- left to A- right. I'll get on it right away.
                                    The GREEN wire coming FROM the speaker switch should be connected to B + RIGHT AND A - Right terminal so which ever terminal you connect it to, also run the (green jumper wire) so both terminals are connected together.

                                    This also applied to the small (orange) jumper wire that connected A- Left to B - Left. Both jumper wires seem to be missing in your last picture.
                                    In post 69 I explained what needed to be changed, move the end of the green jumper wire, that is all that needed to be done, not rewire the whole speaker terminal. The RED terminals are Positive the BLACK terminals are Negative

                                    ¿ The small green wire connected to A - Right is correct but the other end should be connected to B + Right (green wire to the switch) NOT to the grey wire on B - Right
                                    The Blue to A + Right is correct
                                    The Grey to B - Right is correct
                                    The Green to B + Right is correct
                                    The Orange to B + Left is correct
                                    The Pink to B - Left is correct
                                    The Yellow to A + Left is correct
                                    The Orange jumper between A - Left and B - Left is correct
                                    So, the only wire that is wrong is the small GREEN jumper wire
                                    Attached Files
                                    Last edited by R_J; 09-10-2025, 06:19 PM.

                                    Comment

                                    • DrDos
                                      Senior Member
                                      • Aug 2025
                                      • 93
                                      • U.S.

                                      #78
                                      Okay I got it. Return wires to original places and move green wire from gray to green. Got it. and thank you very much. I'll try to find someone on youtube that teaches how to read schematics because even the layout of them is troublesome. Thank you R_J.

                                      Comment

                                      • DrDos
                                        Senior Member
                                        • Aug 2025
                                        • 93
                                        • U.S.

                                        #79
                                        I just took a look at the lines you drew showing me where the jumper goes and I have found the problem. Your picture shows the speaker output screws with the positive connections (the red screws) on the right side and the negatives on the left. When I got this unit the red posts were on the left side. Positives have always been on the left but that is my confusion with the layout. anyway I'll take care of it.

                                        Comment

                                        • DrDos
                                          Senior Member
                                          • Aug 2025
                                          • 93
                                          • U.S.

                                          #80
                                          Well, I put it back together, plugged it in and nothing. I have 120volts going through the fuse. I have either 95 or 9.5 going through the bottom black wire. These wires were just as they are now when I opened this unit up. so, I have power supposedly to the white wire that goes to the switch but at the switch I show 49.5 volts AC and if I turn the unit on I have 54.5 volts AC. Not sure I understand what's going on. I did replace the lamps (all of them) with LED's. But that is all I did. I was going to change the caps but the unit sounded so good before I thought to leave them alone unless something drastic happenes. I wired the switch and put it back into the unit just they way R_J said to. I have good solid soldering joints I just don't get it. If you need to see pics or want better ones of something please let me know I will do it immediately. Thanks for any help.

                                          Comment

                                          Related Topics

                                          Collapse

                                          • Mark R
                                            The Overseas Only Kenwood Model KR 790
                                            by Mark R
                                            I am Repairing this unit. It had many problems. One major one was the power transformer being about 4-5 volts low on the main B+ line which called for 66.5 Vols after the Main Filter caps but only showing about 62 Volts. Caps and the 5 amp Diode bridge were replaced which helped slightly.

                                            The other strange problem was the small secondary winding from the PT which supplies 18 Volts AC to the "FM FLUORESCENT DISPLAY" circuit, and the small winding that supplies 8 Volts AC to the push button grain of wheat lamps. Those voltages were down from 18 Volts to 16 volts. Which was...
                                            09-23-2025, 08:27 PM
                                          • SolomonMan
                                            Vintage BK Precision 1403 Oscilloscope....
                                            by SolomonMan
                                            All,

                                            Some of you have helped me in the past and I am very appreciative of all the help! (I have fixed TVs/Stereos/ and other small appliances with your efforts...Thanks so much!!!



                                            Today I went to a local HAM Radio Festival. It was one of the smaller ones in our area. My stepfather is the HAM operator. I tinker in electronics but am a Software Programmer (27 years now).

                                            I was looking for a few odds and ends for some electronics work I have to do for the household/farm. Typically these type of shows have the grab bags or a electronics vendor...
                                            12-03-2023, 10:39 PM
                                          • KYBOSH
                                            Trying to Save - Samsung UN55JS6500 - A line down the screen + Falling LED diffusers
                                            by KYBOSH
                                            Picked this one up today.
                                            In addition to falling LED diffusers there is a single line here that maybe a deal breaker.
                                            From my reading on these boards it is said that the issue is likely a sign of failed tab drivers, ribbons or tab bonding to the panel.
                                            Wanted to get a 2nd opinion from you guys before I gave up the ghost.
                                            Great looking TV otherwise.

                                            Is there any tricks I can do to try to save this one?
                                            If so, i'll gladly order a set of backlights and save this one from the landfill..

                                            Thanks in advance


                                            ...
                                            10-04-2024, 11:00 PM
                                          • DrDos
                                            kenwood kr-6030 Mosfets?????
                                            by DrDos
                                            Hello everyone, I have decided to try and replace the mosfets in my power amp (the one with relay and left and right sides) on my kenwood kr-6030. I'm trying to get the A side of my speakers working. I have replaced all the caps in the power board and I thought why not change the mosfets. They seem to be working since I have great music coming out of the B side speakers and since I am not an electronic guru (but I am learning) I don't want to make any mistakes. The mosfets I have are listed A913 so I guess 2sa913 and 2sc1913. Can't really find those in mouser or digikey at least with the info...
                                            09-20-2025, 04:42 PM
                                          • fixitforfree
                                            Samsung TV mu6179 with Mainboard BN41-02568B wont save configuration.
                                            by fixitforfree
                                            I have two Boards BN41-02568B for a UE55MU6179 of which one does produce a good picture (Board A) but can not save its configuration (even a factory reset will not work) and one board which produces a distorted picture (Board B). Learning from here the IC1604 saves the configuration of such a TV.

                                            Before replacing the IC1604 from Board B to Board A - would that actually solve the problem from Board A not being able to store its configuration or could there be something else wrong with writing to the flashrom? Is it even the right chip to replace or should I look out for a different...
                                            07-21-2025, 09:07 AM
                                          • Loading...
                                          • No more items.
                                          Working...